当前位置: 首页 音乐 记录用Ai做抖音汽水音乐人歌曲挑战月入10000的第8天,3月20日数据
记录用Ai做抖音汽水音乐人歌曲挑战月入10000的第8天,3月20日数据

记录用Ai做抖音汽水音乐人歌曲挑战月入10000的第8天,3月20日数据

wang 音乐 评论0次 2026-03-21 2026-03-21
2
详情内容
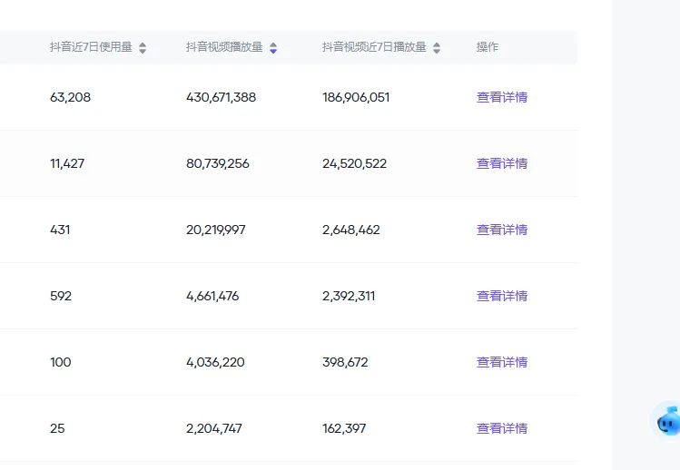
记录用Ai做抖音汽水音乐人歌曲挑战月入10000的第8天,3月20日数据
歌曲点赞比昨日新增:953,  抖音视频播放量听说不算收益后面就不统计了!
愁人的是热度上不去,每天才3万左右热度,七日累积热度:27.6w
最近就只放些数据图 别的话也不多说了,多抽点时间去做好听的歌曲,总之两个字就是:加油!

发表评论

访客

◎欢迎参与讨论,请在这里发表您的看法和观点。

猜您喜欢坚持每天更新,让您每天都有新鲜的资源下载

听赵雷歌曲避雷的

听赵雷歌曲避雷的

听赵雷歌曲避雷的听赵雷歌曲避雷的#音乐爱好者必去 #赵雷#赵雷粉丝#杭州小河路打卡 #运河...

3资源个数(个)
3本月更新(个)
3本周更新(个)
2今日更新(个)